完全一体型、3 kVRMS 電圧分離および低抵抗電流導体付きホール効果ベース リニア電流センサー IC

ACS756

ACS756
* Note: If you have issues logging into this feature you may need to enable 3rd party cookies in your browser settings  ECAD Model Type Image

Description

Top Features

電流センサー IC の Allegro ACS756 シリーズは、工業、自動車、商業、および通信システムで AC または DC 電流を検出するための経済的で的確なソリューションを提供します。デバイス パッケージにより、お客様は簡単に実装していただけます。代表的な用途には、モータ制御、負荷検出と管理、電源、過電流障害防止が含まれます。

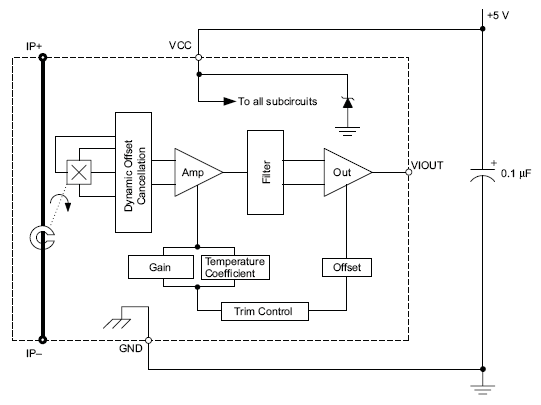
デバイスは、ダイ付近に銅伝導路を備えた正確で低オフセットのリニア ホール センサー回路で構成されています。この銅伝導経路を電流が流れると磁場が生じ、ホール IC によって検出され比例電圧に変換されます。デバイスの精度は、磁気信号がホール トランスデューサに近接することにより最適化されます。低オフセット、チョッパ安定化 BiCMOS ホール構造により正確なホール電圧が実現し、さらに工場出荷時にプログラミングにより高精度化されています。

電流の検出に使用する経路である一次銅伝導路 (端子 4 から端子 5 へ) を流れる電流が増えると、デバイスの出力は右上がり (>VCC / 2) になります。この伝導路の内部抵抗は標準値が 130 µΩ で、低い電力損失が実現します。

銅伝導体の厚みにより、デバイスは最大 5 倍の過電流状態に耐えることができます。伝導路の端子は、センサーのリード (ピン 1 ~ 3) と電気的に絶縁されています。これにより、センサー IC の ACS756 シリーズは、光遮断器などの高額な絶縁技術を使用しなくても電気絶縁を必要とする用途に使用できます。

デバイスは、工場出荷前に完全に較正されています。ACS75x シリーズは鉛フリーです。すべてのリードは 100% 曇り錫でめっき加工され、パッケージ内は鉛フリーです。ヘビー ゲージ リードフレームは無酸素銅で作られています。

  • 増幅器およびフィルタ設計技術による業界最高レベルのノイズ特性
  • 全体的な出力誤差 0.8% (TA = 25°C)
  • パッケージ サイズが小さく、簡単な取り付けが可能
  • 高信頼性を実現するモノリシック ホール IC
  • 非常に低い電力損失: 130 µΩ の内部導体抵抗
  • ピン 1-3 ~ ピン 4-5 の 3 kVRMS 最小分離電圧
  • 3.0 ~ 5.0 V、単一電源動作
  • ステップ入力電流に応答して 3 μ 秒の出力立ち上がり時間
  • 20 または 40 mV/A の出力感度
  • AC または DC 電流に比例した出力電圧
  • 精度向上のため工場調整済み
  • 非常に安定した出力オフセット電圧
  • ほぼゼロの磁気ヒステリシス

Documentation and Resources

Documentation

Filter Document Type:
All Types
All Types Application Note
Documents Found: 32