Magnetic Speed Sensors

Three-Wire True Zero-Speed Gear Tooth Sensor IC

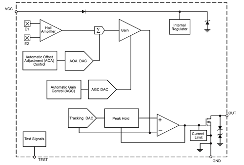
ATS468

The ATS468 provides accurate and reliable gear tooth sensing with true zero-speed operation and continuous calibration. Its integrated Hall IC and magnet pellet simplify implementation.

Product Details

Top Features

  • Wide operating voltage range
  • Peak detecting algorithm robust against signal perturbations
  • Capable of sensing a wide range of target types
  • Running mode calibration for continuous optimization
  • Single chip IC for high reliability
  • Precise duty cycle signal throughout operating temperature range
  • Large operating air gaps
  • Automatic Gain Control (AGC) for air-gap–independent switchpoints
  • Automatic Offset Adjustment (AOA) for signal processing optimization
  • True zero-speed operation
  • Undervoltage lockout
  • Reverse battery protection
  • Robust test coverage capability with Scan Path and IDDQ measurement

Typical Applications

  • Speedometer
Target Application

Part Number Specifications and Availability

Design Tools

Technical Documentation