磁性速度传感器

三线真零速齿轮齿传感器芯片

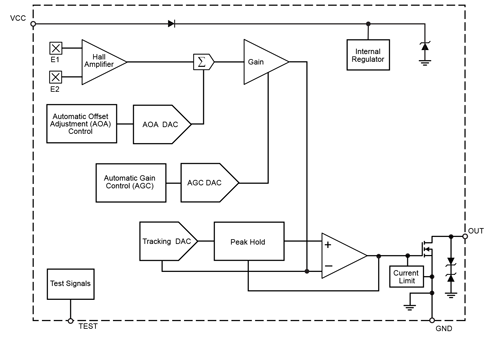
ATS468

ATS468 提供准确可靠的齿轮齿感测,支持真零速运行和持续校准。通过集成霍尔芯片与磁体可简化系统实施。

Product Details

Top Features

  • 较宽的工作电压范围
  • 强峰值侦测算法耐受信号扰动
  • 能够感测各种目标类型
  • 用于连续优化的运行模式校准
  • 可实现高可靠性的单芯片 IC
  • 在工作温度范围内准确的工作循环信号
  • 较大的工作气隙
  • 气隙–独立开关点的自动增益控制 (AGC)
  • 用于信号处理优化的自动偏置调整 (AOA)
  • 真零速操作欠压锁定
  • 电池反接保护
  • 牢固测试覆盖能力,包括扫描路径和 IDDQ 测量
Target Application

Part Number Specifications and Availability

设计工具

Technical Documentation